Запасные части ЧТЗ Запасные части ЧТЗ
Сочи
Например:
Актобе
Алдан
или
Выбрать автоматически
Актобе
Алдан
Алматы
Алчевск
Архангельск
Астана
Астрахань
Атырау
Баку
Балашиха
Барнаул
Белгород
Бердянск
Бишкек
Владивосток
Владикавказ
Воркута
Воронеж
Горловка
Грозный
Донецк
Екатеринбург
Иваново
Ижевск
Иркутск
Казань
Калининград
Каменск-Уральский
Караганда
Каховка
Кемерово
Киров
Комсомольск-на-Амуре
Костанай
Краснодар
Красноярск
Красный луч
Ленск
Луганск
Магадан
Магнитогорск
Макеевка
Махачкала
Мелитополь
Минск
Мирный (Якутия)
Москва
Мурманск
Нерюнгри
Нижневартовск
Нижний Новгород
Нижний Тагил
Новая каховка
Новокузнецк
Новосибирск
Новый Уренгой
Норильск
Ноябрьск
Нур-Султан
Омск
Оренбург
Ош
Павлодар
Пермь
Петрозаводск
Петропавловск
Петропавловск-Камчатский
Псков
Ростов-на-Дону
Салехард
Самара
Санкт-Петербург
Саратов
Севастополь
Семей
Симферополь
Сочи
Ставрополь
Сургут
Сыктывкар
Тараз
Ташкент
Токмак
Томск
Тында
Тюмень
Ульяновск
Усинск
Усть-Каменогорск
Уфа
Хабаровск
Ханты-Мансийск
Херсон
Челябинск
Чита
Шымкент
Экибастуз
Энергодар
Южно-Сахалинск
Якутск
Ваш город
Сочи
Войти
Запасные части к тракторам на одном сайте
+7 (932) 303-00-10
+7 (932) 303-00-10
г. Сочи, ул. Краснодонская, д. 64
Пн-Пт: 9:30-18:30 Cб-Вс: Выходной
Отправить заявку


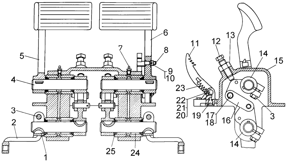
Механизм управления тормозами на Т10М / Б10М


/
с НДС 20%
Описание
Механизм управления тормозами Т10М
#Номер запчастиНаименование деталиКол-во в сборке
-64-13-128СПМеханизм управления тормозами1
1700-34-2040
-
Шпонка
Шпонка 6×9
8
264-13-79Рычаг2
3-Болт М10×30.58.0198
464-13-66Валик4
564-13-67Педаль1
664-13-68Педаль1
7-Масленка 1.3.УХЛ-12
835-13-15Зуб1
9-Гайка М8.6.0191
1031386Шайба1
1164-13-70Защелка1
1250-15-57Упор2
13700-30-2417Гайка2
1464-13-72Рычаг4
1564-13-137CПКорпус1
1664-13-71Серьга4
1717317Палец4
18-Шплинт 3,2×254
1964-13-138Зацеп1
2035-13-20Палец1
213135-1Шайба1
22-Шплинт 2×141
23700-38-2089Пружина1
24-Подшипник 943/254
25700-42-2502Кольцо8
Механизм управления тормозами