Запасные части ЧТЗ Запасные части ЧТЗ
Сочи
Например:
Актобе
Алдан
или
Выбрать автоматически
Актобе
Алдан
Алматы
Алчевск
Архангельск
Астана
Астрахань
Атырау
Баку
Балашиха
Барнаул
Белгород
Бердянск
Бишкек
Владивосток
Владикавказ
Воркута
Воронеж
Горловка
Грозный
Донецк
Екатеринбург
Иваново
Ижевск
Иркутск
Казань
Калининград
Каменск-Уральский
Караганда
Каховка
Кемерово
Киров
Комсомольск-на-Амуре
Костанай
Краснодар
Красноярск
Красный луч
Ленск
Луганск
Магадан
Магнитогорск
Макеевка
Махачкала
Мелитополь
Минск
Мирный (Якутия)
Москва
Мурманск
Нерюнгри
Нижневартовск
Нижний Новгород
Нижний Тагил
Новая каховка
Новокузнецк
Новосибирск
Новый Уренгой
Норильск
Ноябрьск
Нур-Султан
Омск
Оренбург
Ош
Павлодар
Пермь
Петрозаводск
Петропавловск
Петропавловск-Камчатский
Псков
Ростов-на-Дону
Салехард
Самара
Санкт-Петербург
Саратов
Севастополь
Семей
Симферополь
Сочи
Ставрополь
Сургут
Сыктывкар
Тараз
Ташкент
Токмак
Томск
Тында
Тюмень
Ульяновск
Усинск
Усть-Каменогорск
Уфа
Хабаровск
Ханты-Мансийск
Херсон
Челябинск
Чита
Шымкент
Экибастуз
Энергодар
Южно-Сахалинск
Якутск
Ваш город
Сочи
Войти
Запасные части к тракторам на одном сайте
+7 (932) 303-00-10
+7 (932) 303-00-10
г. Сочи, ул. Краснодонская, д. 64
Пн-Пт: 9:30-18:30 Cб-Вс: Выходной
Отправить заявку


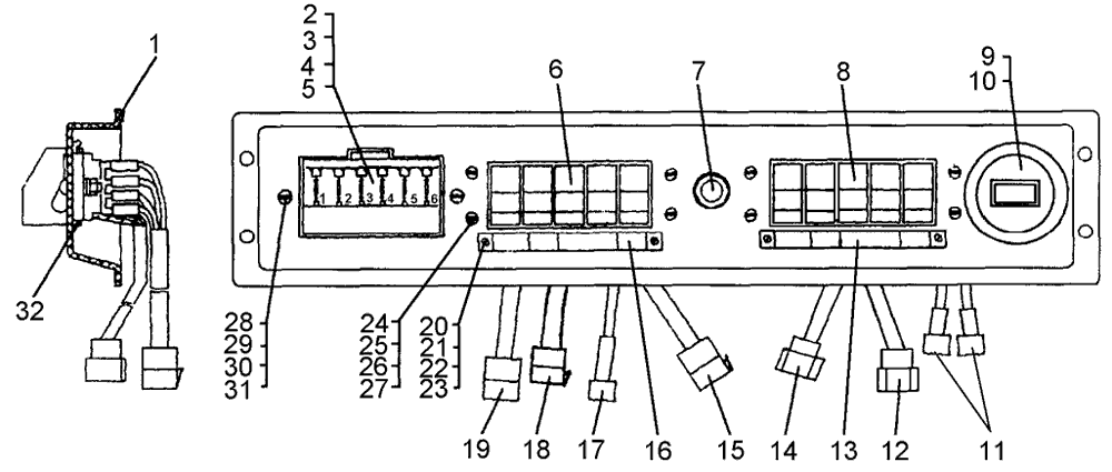
Щиток управления на Т10М / Б10М


/
с НДС 20%
Описание
Щиток управления Т10М
#Номер запчастиНаименование деталиКол-во в сборке
-64-10-600СПЩиток управления1
1700-42-2490-02Панель щитка управления1
2-Блок предохранителей
ПР-120
ПР-120-Э 1
ПР-120-Т 2
1
364-10-598СПЖгут 091
450-10-664СППровод 021
564-10-543СППровод 01,601
6-Блок (клавишных выключателей)
53.3710-07.17
5306.3710-07.17 1
5307.3710-07.17 2
1
7-Выключатель 11.3704-011
8-Блок (клавишных выключателей)
53.3710-03.17
5306.3710-03.17 1
5307.3710-03.17 2
1
9-Счетчик моточасов / Вольтметр УК 34.2 РИВП.453 895.0061
1064-10-542СППровод 1541
1164-10-593СППровод 151/61
1264-10-597СПЖгут 081
1364-10-281Табличка1
1450-10-814СПЖгут 051
1550-10-815СПЖгут 061
1664-10-280Табличка1
1764-10-466СППровод 1521
1850-10-811СПЖгут 031
1964-10-541-01СПЖгут 071
20-Винт В.М3-6g×10.58.0166
21-Гайка М3-6Н.6.0166
22-Шайба 3Т 65Г 066
2331311Шайба6
24-Винт В.М4-6g×10.58.0198
25-Гайка М4-6Н.6.0168
26-Шайба 4Т 65Г 068
2731534-1Шайба8
28-Винт В.М6-8g×18.58.0192
29-Гайка М6-7Н.6.0192
30-Шайба 6Т 65Г 092
3131358-1Шайба2
32700-40-7040Проставка4
1 Для экспорта.
2 Для тропиков.
Щиток управления