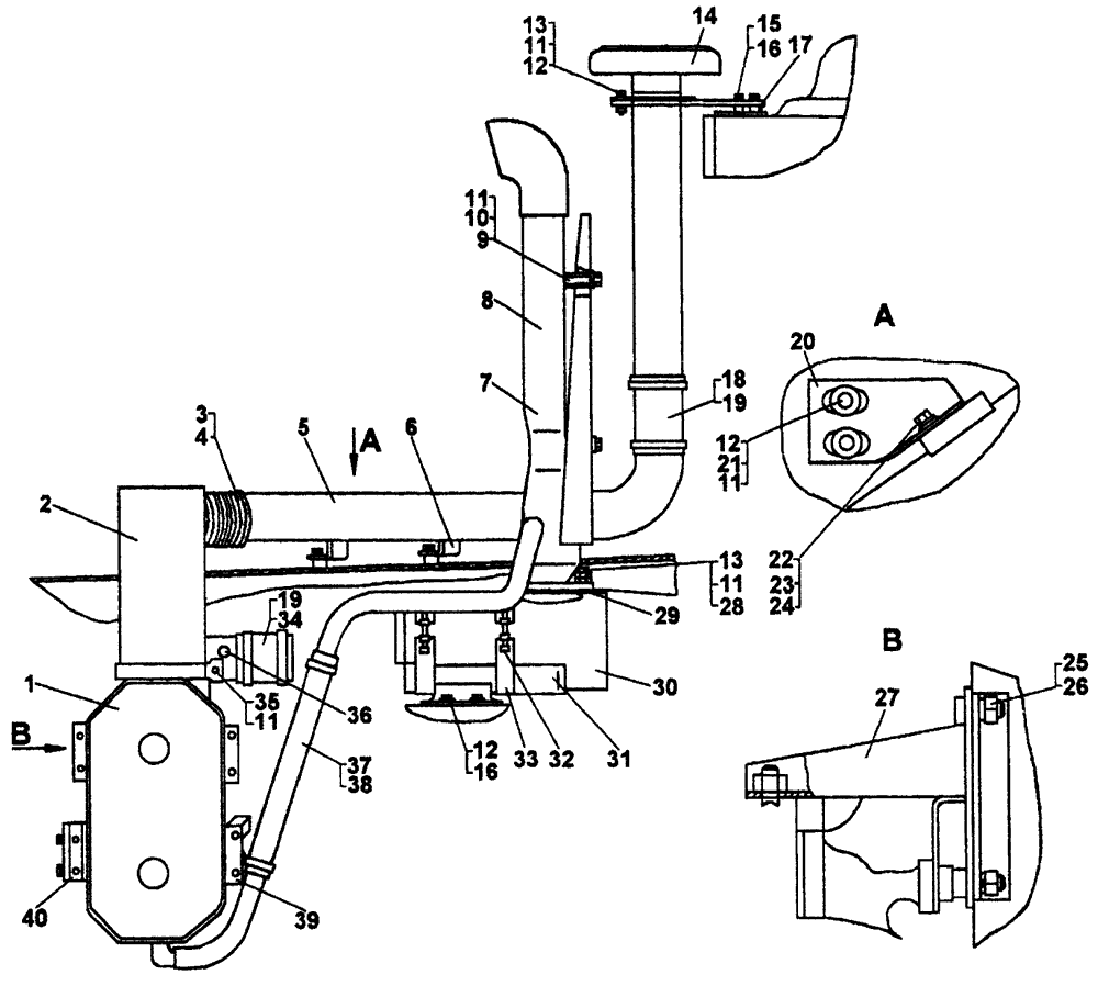
| # | Номер запчасти | Наименование детали | Кол-во в сборке |
| 1 | 51-05-215-01СП | Воздухоочиститель | 1 |
| 2 | 51-05-422СП | Переходник | 1 |
| 3 | 59740 | Патрубок | 1 |
| 4 | 700-41-2235-31СП | Хомут | 4 |
| 5 | 51-05-469СП | Труба | 1 |
| 6 | 51-05-622-01 | Планка | 1 |
| 7 | 51-05-464СП | Труба выхлопная | 1 |
| 8 | 51-05-616 | Экран | 1 |
| 9 | 51-05-36 | Втулка | 2 |
| 10 | - | Болт М10x40.58.019 | 2 |
| 11 | 31308-1 | Шайба | 17 |
| 12 | - | Болт М10х25.58.019 | 12 |
| 13 | - | Гайка М10.6.089 | 20 |
| 14 | 51-05-470СП | Воздухозаборник | 1 |
| 15 | - | Болт М12х25.58.019 | 3 |
| 16 | 3135-1 | Шайба | 7 |
| 17 | 51-05-621 | Опора | 1 |
| 18 | 700-40-3484-01 | Рукав | 1 |
| 19 | 51-05-115СП | Хомут | 4 |
| 20 | 51-05-622 | Планка | 1 |
| 21 | - | Шайба 10 ОТ 65Г 09 | 4 |
| 22 | - | Болт М8х16.58.019 | 2 |
| 23 | - | Шайба 8Т 65Г 09 | 2 |
| 24 | 31386 | Шайба | 2 |
| 25 | - | Гайка М12.6.019 | 4 |
| 26 | - | Шайба 12 ОТ 65Г09 | 4 |
| 27 | 51-05-106СП | Кронштейн | 1 |
| 28 | Шпилька М10 3p/6g х35.66.083 | 6 | |
| 29 | 700-40-2636 | Прокладка | 1 |
| 30 | 51-05-192СП | Глушитель | 1 |
| 31 | 51-05-247СП | Кронштейн | 1 |
| 32 | 51-05-116СП | Болт стяжной | 1 |
| 33 | 51-05-295СП | Хомут | 2 |
| 34 | 700-40-3484 | Рукав | 1 |
| 35 | 700-28-2381 | Болт | 1 |
| 36 | - | Датчик электрический сигнализатора засоренности воздушного фильтра
132.3839.600 132.3839.600-Э 132.3839.600-Т | 1 |
| 37 | 700-40-8742 | Рукав | 1 |
| 38 | 70041-2235-17СП | Хомут | 2 |
| 39 | 51-05-5 | Кронштейн | 1 |
| 40 | 51-05-6 | Кронштейн | 1 |
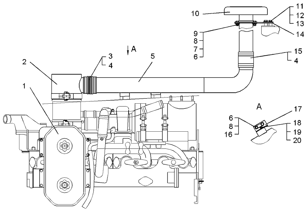
| # | Номер запчасти | Наименование детали | Кол-во в сборке |
| - | 65-05-25СП | Установка агрегатов систем впуска и выпуска (для тракторов, работающих в условиях повышенной запыленности) | 1 |
| 1 | 51-05-27СП | Установка агрегатов систем впуска и выпуска | 1 |
| 2 | 65-05-27СП | Установка агрегатов систем впуска и выпуска | 1 |
| 3 | 59740 | Патрубок | 1 |
| 4 | - | Хомут червячный 90-110/12 W2 (Германия) | 4 |
| 5 | 51-05-469СП | Труба | 1 |
| 6 | - | Болт М10-6g×25.58.019 | 8 |
| 7 | - | Гайка М10-7Н.6.019 | 4 |
| 8 | - | Шайба 10 ОТ 65Г 09 | 8 |
| 9 | 31308-1 | Шайба | 4 |
| 10 | 51-05-470СП | Воздухозаборник | 1 |
| 11 | - | Болт М12-6g×25.58.019 | 3 |
| 12 | - | Шайба 12 ОТ 65Г 09 | 3 |
| 13 | 3135-1 | Шайба | 3 |
| 14 | 51-05-621 | Опора | 1 |
| 15 | 700-40-3484-01 | Рукав | 1 |
| 16 | 3197 | Шайба | 4 |
| 17 | 65-05-145 | Планка | 2 |
| 18 | - | Болт М8-6g×16.58.019 | 2 |
| 19 | - | Шайба 8Т 65Г 09 | 2 |
| 20 | 31386 | Шайба | 2 |
